Reservoirs with a floating water heater (AN-B)
Storage reservoirs with floating boiler are labelled as AN-B. They are cylindrical vertical pressure reservoirs equipped with heating of hot service water. The design of the reservoirs facilitates connection to an electric heating system.
The storage reservoirs with floating boiler can be operated under working overpressure up to 0.8 MPa for the inner tank, and up to 0.6 MPa for the outer tank; working temperature up to 100 °C. Special storage reservoirs can be manufactured upon customer’s request. The reservoirs are coated with environmentally sound primer; the inner tank is galvanised.
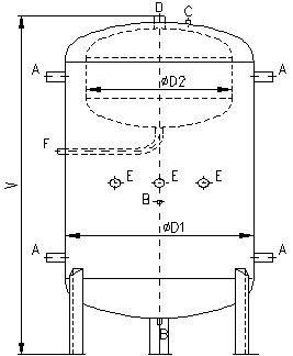
Technical parameters
| Type | Outer tank | Diameter | Inner tank | Diameter | Height | Connection points | Weight | |||||
|---|---|---|---|---|---|---|---|---|---|---|---|---|
| (Catal. No.) | [l] | [mm] | [mm] | [mm] | [mm] | A | B | C | D | E | F | [kg] |
| AN B300/150 | 300 | 650 | 150 | 550 | 1360 | G2" | G1/2" | G3/4" | G1" | M48x2 | 450 | 1270 |
| AN B400/200 | 400 | 650 | 200 | 550 | 1760 | G2" | G1/2" | G3/4" | G1" | M48x2 | 390 | 1400 |
| AN B500/250 | 500 | 650 | 250 | 550 | 1960 | G2" | G1/2" | G3/4" | G1" | M48x2 | 390 | 1400 |
| AN B600/300 | 600 | 650 | 300 | 550 | 2340 | G2" | G1/2" | G3/4" | G1" | M48x2 | 450 | 1270 |
| AN B800/400 | 800 | 800 | 400 | 700 | 2070 | G2" | G1/2" | G3/4" | G1" | M48x2 | 390 | 1400 |
| AN B1000/500 | 1000 | 800 | 500 | 700 | 2570 | G2" | G1/2" | G3/4" | G1" | M48x2 | 390 | 1400 |
ATTENTION: The overpressure in the outer tank must not exceed 0.4 MPa unless the overpressure in the inner tank is at least 0.4 MPa.
Drawing
